- 3D-Druck Einstieg und Tipps         
Seite 1 von 2 12 LetzteLetzte
Ergebnis 1 bis 10 von 11

Thema: Rot oder grün bei 0 oder 12 Volt

  1. #1
    Neuer Benutzer Öfters hier
    Registriert seit
    31.10.2008
    Ort
    Amsterdam
    Beiträge
    11

    Rot oder grün bei 0 oder 12 Volt

    Anzeige

    E-Bike Praxistest
    Hallo liebe Experten und "Lötaugen"
    Mit wenigen theoretischen Kenntnissen versuche ich zwei LED´s bei jeweils anderem Pegel am Eingang der "Blackbox" zu steuern.
    Ich dachte da an eine einfache Transistorlösung weil ich nur 9*8 mm Platz habe.
    Als Anfänger habe ich meine Frage etwas mit der Black-Boxschaltung erläutert.
    Wenn mir jemand mit "Hochschullötabschluss" helfen könnte...DANKE !!!
    Miniaturansichten angehängter Grafiken Miniaturansichten angehängter Grafiken rot_gr_n_box.jpg  

  2. #2
    Erfahrener Benutzer Fleißiges Mitglied
    Registriert seit
    29.09.2007
    Ort
    Südbaden
    Beiträge
    182
    Hey,
    wenn du die rote LED umdrehst und gegen 12V schaltest, brauchst du die Black Box garnicht. Dies geht allerdings nur wenn deine Eingangsspannung auch etwas belastbar ist.

    Gruß
    elayne
    Fernsehen ist Kaugummi für die Augen!

  3. #3
    Erfahrener Benutzer Robotik Einstein Avatar von Andree-HB
    Registriert seit
    10.12.2004
    Ort
    Bremen
    Alter
    55
    Beiträge
    2.810
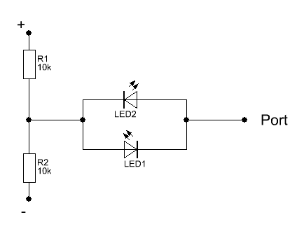
    Bild hier  

    ...und vor "Port" (12v/0V) noch ein Vorwiderstand für 6V/20mA, ca. 330Ohm

  4. #4
    Erfahrener Benutzer Fleißiges Mitglied
    Registriert seit
    29.09.2007
    Ort
    Südbaden
    Beiträge
    182
    Sollte an dem Vorwiederstand nicht nur 4V abfallen? Für die Led's müssten doch auch noch ca. 2V übrig bleiben. Dann würde ich auch etwa 200Ohm kommen. Oder habe ich etwas nicht bedacht?
    Fernsehen ist Kaugummi für die Augen!

  5. #5
    Erfahrener Benutzer Robotik Einstein Avatar von Andree-HB
    Registriert seit
    10.12.2004
    Ort
    Bremen
    Alter
    55
    Beiträge
    2.810
    Sollte an dem Vorwiederstand nicht nur 4V abfallen? Für die Led's müssten doch auch noch ca. 2V übrig bleiben. Dann würde ich auch etwa 200Ohm kommen. Oder habe ich etwas nicht bedacht?
    ...doch, Du hast völlig Recht !

  6. #6
    Neuer Benutzer Öfters hier
    Registriert seit
    31.10.2008
    Ort
    Amsterdam
    Beiträge
    11

    Habe nur wenige mA

    Liebe Helfer...

    Die Idee ist ja dem Problem angemessen, aber ich hatte mich unvollständig Ausgedrückt, sorry.

    Ich habe nur wenige mA am Eingang der Black box zur Verfügung, der gezeichnete Schalter sollte nur den Logikpegel in der Skitze anzeigen!

    Und , der Eingang der Box darf das Signal wegen der weiteren Auswertung nicht "verfälschen" , darum die Variante mit den Transistoren.


    (Wie bekomme ich das Bild gleich hier zur Anzeige ???)

    Danke Marry =D>

  7. #7
    Erfahrener Benutzer Robotik Einstein Avatar von i_make_it
    Registriert seit
    29.07.2008
    Ort
    Raum DA
    Alter
    57
    Beiträge
    2.814
    Falls du eine Hilfsspannung hat um eine Schaltung zu versorgen, kannst Du einen Festerdiskriminator mit hochomigen Eingang verwenden um das Signal möglichst wenig zu belasten. Bei der Größenvorgabe käme da aber wohl nur SMD in Frage.
    Bsp.: http://www.ferromel.de/tronic_29.htm

  8. #8
    Erfahrener Benutzer Roboter Genie
    Registriert seit
    02.11.2005
    Alter
    50
    Beiträge
    1.146
    Wieso so kompliziert?
    Einfache Transistorlösung im Anhang...

    Gruß,
    askazo

    Edit: Die Widerstände in der Schaltung habe ich versehentlich für 5V Versorgungsspannung ausgelegt.
    Bei 12V würde ich als Vorwiderstand für die LEDs 680 Ohm nehmen, falls Du normale 20mA-LEDs benutzt. Bei den Transisoren könntest Du sogar bis 20kOhm hochgehen. Bei 0,5mA sollten die Transistoren immer noch sicher schalten. Wieviel Strom hast Du denn am Schalteingang zur Verfügung?

    Gruß,
    askazo
    Miniaturansichten angehängter Grafiken Miniaturansichten angehängter Grafiken led_551.png  

  9. #9
    Neuer Benutzer Öfters hier
    Registriert seit
    31.10.2008
    Ort
    Amsterdam
    Beiträge
    11

    der Lösung ganz nahe

    Für dieVariante mit dem Discriminator ist leider kein platz... habe nur 1Quadratcentimeter !....danke trotzdem für den Vorschlag .


    Die Lösung von "askazo " ist da näher an der Aufgabenstellung angesiedelt...(hat Problem voll verstanden!)
    ich werde es mal auf´s Steckbrett stöpseln.

    Wenn´s klappt, sage ich Danke !!!!!

    Wenn nicht, komme ich zurück zum jammern...


    Also danke an alle Leser und Helfer !!!!!

  10. #10
    Erfahrener Benutzer Roboter-Spezialist
    Registriert seit
    12.04.2006
    Ort
    Dresden
    Alter
    70
    Beiträge
    370
    Hi,
    Zum Ansteuern der Leds ist Andee-HBs Schaltung besser, Port ist hier IC-Ausgang:

    [Edit] Sorry, Klops eingebaut, ist in version 2 korrigiert.
    Lutz
    Miniaturansichten angehängter Grafiken Miniaturansichten angehängter Grafiken minimalschaltung2.jpg  
    Wir haben so viel mit so wenig solange versucht, das wir jetzt qualifiziert sind, fast alles mit fast nichts zu bewerkstelligen.

Seite 1 von 2 12 LetzteLetzte

Berechtigungen

  • Neue Themen erstellen: Nein
  • Themen beantworten: Nein
  • Anhänge hochladen: Nein
  • Beiträge bearbeiten: Nein
  •  

LiFePO4 Speicher Test